- 全国服务热线:400-838-8098
- 电话:13153399666
- 电话:13053384666
- 地址:山东省淄博市博山区白塔镇白塔工业园
- 邮编:255200
- 邮箱:13573328046@163.com
- 网址:http://www.zbzhongding.com
产品名称:ZX自吸泵

ZX自吸泵
自吸泵是属自吸式离心泵,它具有结构紧凑、操护方便、运行平衡、维修方便、效率高、寿命长、并有较强的自吸能力等优点。管路中不需安装底阀,工作前只需保留泵体内储有定量引液即可,因此简化了管路系统。
ZX系列自吸泵是根据国内外有关技术资料经吸收、消化、改进后研制而成的节能泵类产品。该泵属自吸式离心泵,它具有结构紧凑、操作方便、运行平稳、维护容易、效率高、寿命长,并有较强的自吸能力等优点。管路中不需安装底阀,工作前只需保证泵体内储有定量引液即可。因此简化了管路系统。
型号意义:
使用范围:
1、适用于城市建筑、消防、化工、制药、染料、印染、酿造、电力、电镀、造纸、石油、矿山、设备冷却、油轮卸油等。
2、适用于清水、海水及带有酸、碱度的化工介质液体和带有一般糊状的浆料(介质粘度≤100厘珀、含固量可达30%以下)。
3、装上摇臂式喷头,又可将水冲到空中后,散成细小雨滴进行喷雾,是农场、苗圃、果园、茶园的良好机具。
4、 可和任何型号、规格的压滤机配套使用,将浆料送带滤机进行压滤的配套泵种。
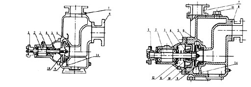
结构说明:
|
1 |
联轴器 |
2 |
泵轴 |
3 |
轴承 |
4 |
机械密封 |
5 |
轴承体 |
6 |
泵壳 |
7 |
出口座 |
|
8 |
进口座 |
9 |
前密封环 |
10 |
叶轮 |
11 |
后盖 |
12 |
挡水圈 |
13 |
加液孔 |
14 |
回液孔 |
性能参数:




当前所在位置: